RAU2505代替HRAU2505C0P5,CRBT255A,交叉滚子轴承可以进行替代吗?
工业4.0时代,精密制造的竞争已进入“微米级对决”,生产线卡顿、机器人定位偏差、医疗设备运转失准等问题,往往根源在于传动系统的核心部件——轴承。洛阳普瑞斯轴承深耕精密轴承领域,推出RAU2505交叉滚子轴承,以超薄高刚性、低摩擦的核心优势,成为破解精密传动痛点的“隐形英雄”,为高端装备赋能动力。
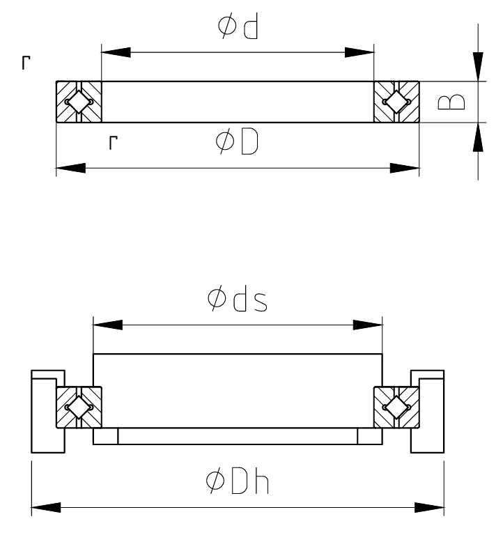
RAU2505轴承堪称“小身材大能量”的典范,核心规格适配紧凑空间需求:内径25mm、外径36mm、宽度5mm的超薄尺寸,在有限空间内实现高效传动,契合设备轻量化、紧凑化设计趋势;承载性能毫不逊色,动载荷达1.65kN,静载荷1.77kN,可稳定承接多向受力;精度更是达到行业高端水准,提供P5/P4级双精度选择,游隙严格控制在2-10μm,从源头杜绝偏差隐患。
三大核心优势铸就其市场竞争力:高刚性设计让轴承在振动、冲击工况下仍保持精度稳定,使设备故障率降低25%,保障生产线连续运转;预润滑工艺实现低摩擦运转,既延长轴承寿命,又符合环保要求;一体化结构设计提升安装兼容性,无需复杂适配,性价比优势突出。
目前,RAU2505已广泛应用于工业机器人关节、医疗CT转台、航空轻量化驱动等高端场景,凭借稳定性能赢得市场认可。作为国产精密轴承领军品牌,洛阳普瑞斯以技术创新为核心,持续为工业4.0赋能,让这款“隐形英雄”成为更多精密设备的可靠之选。

18568992278